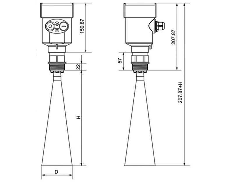
SUP-RD902 26GHz Radar level meter
SUP-RD902 Non-contact radar level meter with simple commissioning, trouble-free operation saves time and money. For usage in a wide range of applications - be it in simple storage tanks, in corrosive or aggressive media or high accuracy tank gauging applications.
Characteristics
-
Range: 0~30 m
-
Application: Liquid
-
Frequency Range: 26GHz






